提起“步步高”这个品牌,相信8090都不会陌生,“步步高学习机”、“步步高音乐手机”都是这一代人的记忆。
后来“步步高”品牌渐渐淡出了我们的视线,但oppo和VIVO却占据了中国手机领域的前几名,其实,这两个品牌都与步步高关系匪浅。
1. “步步高”的前世今生
1995年,从小霸王离职的段永平在东莞创立了步步高品牌,将其分为三大板块:教育电子业务,视听业务和通信业务。
1999年,这三大板块各自成立公司,除了段永平各持有三家10%的股份外,并没有其他牵连。
2003年,三家公司共同注册了一个品牌OPPO,并由负责视听业务的陈明永直接买断。在2003年成立了广东欧珀移动通信有限公司,OPPO品牌正式成立。
2011年,通信业务的负责人沈炜创立了一个新的品牌vivo,并且开始弃用步步高这一品牌,成为了现在的维沃移动通信有限公司。
通过发展进程可以看出,OPPO品牌是独立于步步高的另一个手机品牌,而vivo才是步步高手机业务的直接延续。
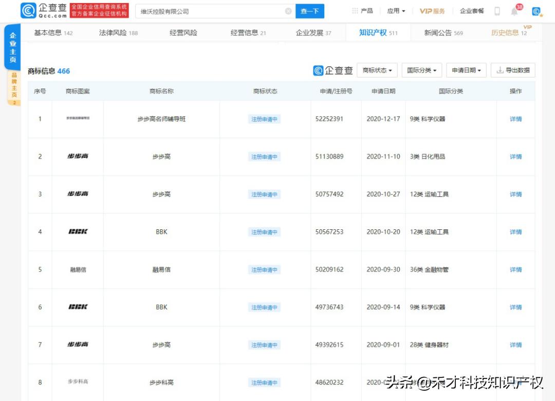
虽然现在的步步高手机已经退出了公众视野,可曾经却是不容忽视的“明星”,vivo自然不会将其商标权放弃。近日又申请注册了多个“步步高”商标,其中国际分类包含3类日化用品、12类运输工具、28类健身器材等商品和服务上,商标状态为注册申请中。

2. “步步高”的商标注册不容易
有人可能会问了:难道vivo之前没注册过吗?在商标局官网上查询得知,关于“步步高”的商标注册信息共有499件,且商标申请人五花八门,并没有全面把握在步步高公司和维沃公司手里。

毕竟,“步步高”并不是一个创造出来的新名词,而是一直以来就拥有美好意义的传统祝福语,因此一早就被人注册了商标。
最早的商标注册信息是1989年,由肇庆市高要区步步高食品厂申请注册,国际分类在第32类豆奶上。

其后,也有多条其他公司的注册信息,维沃控股直到1995年11月14日才第一次申请注册了步步高商标,分别在第9类信号器具、第11类灯具,第28类游戏机等商品或服务上。

其实,vivo之前申请的“步步高”商标很多都宣告了无效,只有小部分注册成功。本次商标注册,就是要将“步步高”再次握在自己手中。

3. vivo注册步步高背后的考量
vivo申请注册“步步高”商标究竟是寓意何为?毕竟现在“步步高”品牌已经离开了众人的视野,vivo品牌也正在异军突起,占领着手机市场。
回头再啃这块难啃的“步步高”商标,究竟为的是什么?当然是为了其巨大的品牌价值。
步步高再不济,现在说起来,还是一代人的回忆。看评论就知道,许多用户对于步步高的退市,都感觉很痛心。

所以,vivo可能也是想把这个品牌再捡起来,而建立一个子品牌,专注年轻人市场,也是个不错的选择。
只是不知道,这一波商标注册到底能不能成功?