想象一下,有一天一架无人机载着你刚定的外卖向你飞来,放在窗外的平台上,是不是有些小激动?
无人机的痛点之一是续航问题。
现在你还不用担心无人机没电飞不远,它可以随时在附近的路灯或电线杆上休憩充电,快速恢复满格电量。

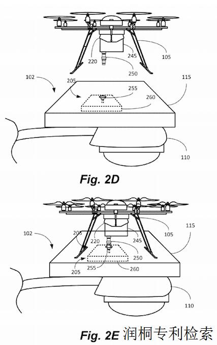
最近,亚马逊公司就为它的无人机送货计划“空中速递”(Amazon Prime Air)的中转平台,即“充电插座”(docking station)申请了专利。这一新技术可以在路灯、教堂、电话亭等合适的建筑上搭建平台,以供无人机充电和接送包裹。
润桐专利检索:US9387928

为无人机做好“后勤保障”
“充电插座会包含一些特殊设计,以便无人机飞得更远、更精确,并能在极端条件下提供庇护。”亚马逊美国专利与商标办公室如此说明。

“充电插座”将被安装在信号发射站、教堂塔顶、办公楼、电线杆和其他高层结构上,功能即为无人机做好“后勤保障”。无人机可以在这些平台上降落,在极端天气下寻求庇护、充电或填充燃料以及接送包裹。
亚马逊概述了“中央控制系统”的构想。通过这一系统,管理者可以了解各个充电插座的情况。系统会迅速计算出最短的路径,然后结合风速、人流密集度等其他因素给出最优路径。

无论是用油还是用电,都可以在相应的“充电插座”得到补给,这能够大大增加无人机的续航能力以及派送覆盖范围。只是从专利图片上看,在实际环境中要完成充电口或加油口的准确对接,并不会那么容易。

当然最重要的还是在运送包裹方面,在专利中,亚马逊希望在“充电插座”下设置快递投递柜,当一个飞行器降落后,会将包裹放在该平台上,通过“真空管、升降机或传送带”送到地面上的快递员手上,最终由快递员送到客户手中。但是这对快递体积、质量和材质都有要求,例如易碎品就不适合垂直投递。

亚马逊在专利中还表示,这些“充电插座”可以发挥信号站和广告宣传的作用,在公共场所提供免费或有偿的WiFi。
亚马逊的这一“未来送货系统”计划在下单后30分钟内使用小型无人飞行器将货物安全送到消费者手中。“空中速递”项目有望大幅提高亚马逊所提供服务的质量以及总体快递系统的安全性及效力。这一项目真正落地还需要一段时间,并且将在相关政策法规允许后才可推广。
一年前,亚马逊就获得了另一项专利,使得无人机之间可以分享信息。这些构想以及亚马逊空中速递能否实现尚不得而知。除了“空中速递”,最近几年亚马逊还不断推广“1小时送达”(Amazon Prime Now)配送服务及“亚马逊生鲜”等新服务。
这些专利看起来都是不错的主意,但想要成为现实其实困难重重,安全性是最大的困扰。高空坠落的快递会威胁行人的人身安全,更不要提转着的无人机了。
无人机快递仍被严格管控
亚马逊目前仍然在努力说服相关部门批准它的空中快递项目。
今年6月21日,联邦航空管理局(FAA)发布了最新无人机的使用规则,基本扼杀了亚马逊的项目。
规则包括:飞行器必须在驾驶员或目视观测者视线范围内,未说明飞行半径限制;不得飞越无关的人员、封闭建筑物上空;飞行重量低于55磅(25千克),高度低于400尺(约122米),速度低于100英里/时(约161公里/时);天气可见度不得低于3英里(约4828米),飞行时段限于白天(当地官方日出时间前30分钟到日落时间后30分钟);无人机操控员需通过基础航空知识考试并取得相关执照。
美国严格管制主要出于两点考虑:首先,美国小型单引擎私人飞机较多,可能与无人机发生空中事故;其次,美国911事件发生后,出于对恐怖袭击的担忧,政府对于可能成为大范围*伤杀**性*器武**(如生化*器武**)载体的小型单引擎飞机和无人机实行了更加严格的管制。随着无人机越来越多地被应用,美国国会也督促联邦航空局在无人机应用与监管上进行改革。商用无人机只限于摄影,公用设施检查等,并且大多数小型商用无人机只被允许人为操作下在白天飞行,且飞行人每年需重新获取认证。
在中国,阿里巴巴于2015年2月就无人机送货在北上广三地进行了试验,将盒装姜茶用无人机送到快递物流站点,随后由快递人员将货物送到客户手中。
但阿里巴巴同样面临着严格的空中管制。根据中国民用航空局飞行标准司2013年的《民用无人驾驶航空器系统驾驶员管理暂行规定》,重量小于等于7公斤的微型无人机,飞行范围限定在目视视距内半径500米、相对高度低于120米范围内,无须证照管理;若超出此限定范围驾驶员需纳入行业协会甚至民航局的监管。
润桐专利检索结语:
若未来快递服务达到下单30分钟内就送达,那将开启全新的物流时代,网购生活将走入新的篇章!